一、產品說明
本過濾器用于液壓系統回油精過濾,濾除液壓系統中元件磨損產生的金屬顆粒以及密封件的橡膠雜質等污染物,使流回油箱的油保持清潔。
1、本過濾器可直接安裝在油箱蓋板上,也可以用管子安裝。
2、設有濾芯污染堵塞發訊器,及旁通閥,提高液壓交流的可靠性,當濾芯被污染物堵塞或系統液溫過低,流量脈動等因素造成進油壓力為0.35MPa時,發訊器便發出訊號指示,應及時更換濾芯或提高溫度,如此時不能馬上停機處理這些故障時,設在濾芯上的旁通閥會自動開啟(開啟壓力為0.4MPa)。
3、濾芯采用玻璃纖維材質,具有過濾精度高,通油能力大,原始壓力損失小,納污量大等優點,其過濾精度以過濾精度標定,過濾比β3、5、10、20>200過濾效率n≥百分之99.5符合ISO標準。
二、型號說明

三、技術參數
|
型號 |
公稱流量 |
過濾精度 |
通徑 |
壓力損失(MPa) |
發訊裝置 |
重量 |
濾芯型號 |
||
|
初始 |
大 |
(V) |
(A) |
||||||
|
RF-60×*L- |
60 |
1 |
20 |
≦0.07 |
0.35 |
12 24 36 220 |
2.5 2 1.5 0.25 |
0.4 |
HL0060R*BN/HC |
|
RF-110×*L- |
110 |
0.9 |
HL00110R*BN/HC |
||||||
|
RF-160×*L- |
160 |
40 |
1.1 |
HL001600R*BN/HC |
|||||
|
RF-240×*L- |
240 |
1.8 |
HL00240R*BN/HC |
||||||
|
RF-330×*L- |
330 |
50 |
2.3 |
HL00330R*BN/HC |
|||||
|
RF-500×*L- |
500 |
3.2 |
HL00500R*BN/HC |
||||||
|
RF-660×*L- |
660 |
80 |
4.1 |
HL00660R*BN/HC |
|||||
|
RF-850×*L- |
850 |
13 |
HL00850R*BN/HC |
||||||
|
RF-950×*L- |
950 |
90 |
20 |
HL00950R*BN/HC |
|||||
|
RF-1300×*L- |
1300 |
100 |
41.5 |
HL001300R*BN/HC |
|||||
注:*為過濾精度,若使用介質為水—乙二醇,公稱流量160L/min,過濾精度10μm,帶CYB—I型發訊器,則過濾型號為RF•BH-160×10Y,濾芯型號為HL00160R010BN/HC。
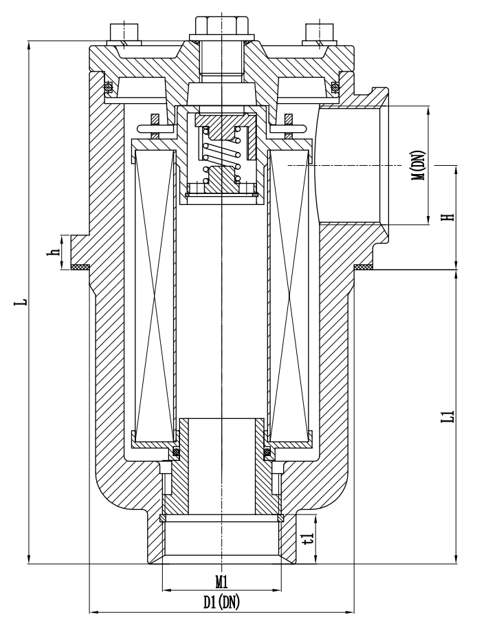
四、外形尺寸


本文網址:http://m.bldg-materials.cn/chanpin/nongye/yeyaguolv/4.html
關鍵詞:
上一篇:First
下一篇:TF系列箱外自封式吸油過濾器